
3.CREATING AND EDITING SEQUENCE PROGRAMS B-63484EN/05
- 20 -
3.1 SEQUENCE PROGRAMS
This section describes sequence programs.
3.1.1 Procedure for Creating Sequence Programs
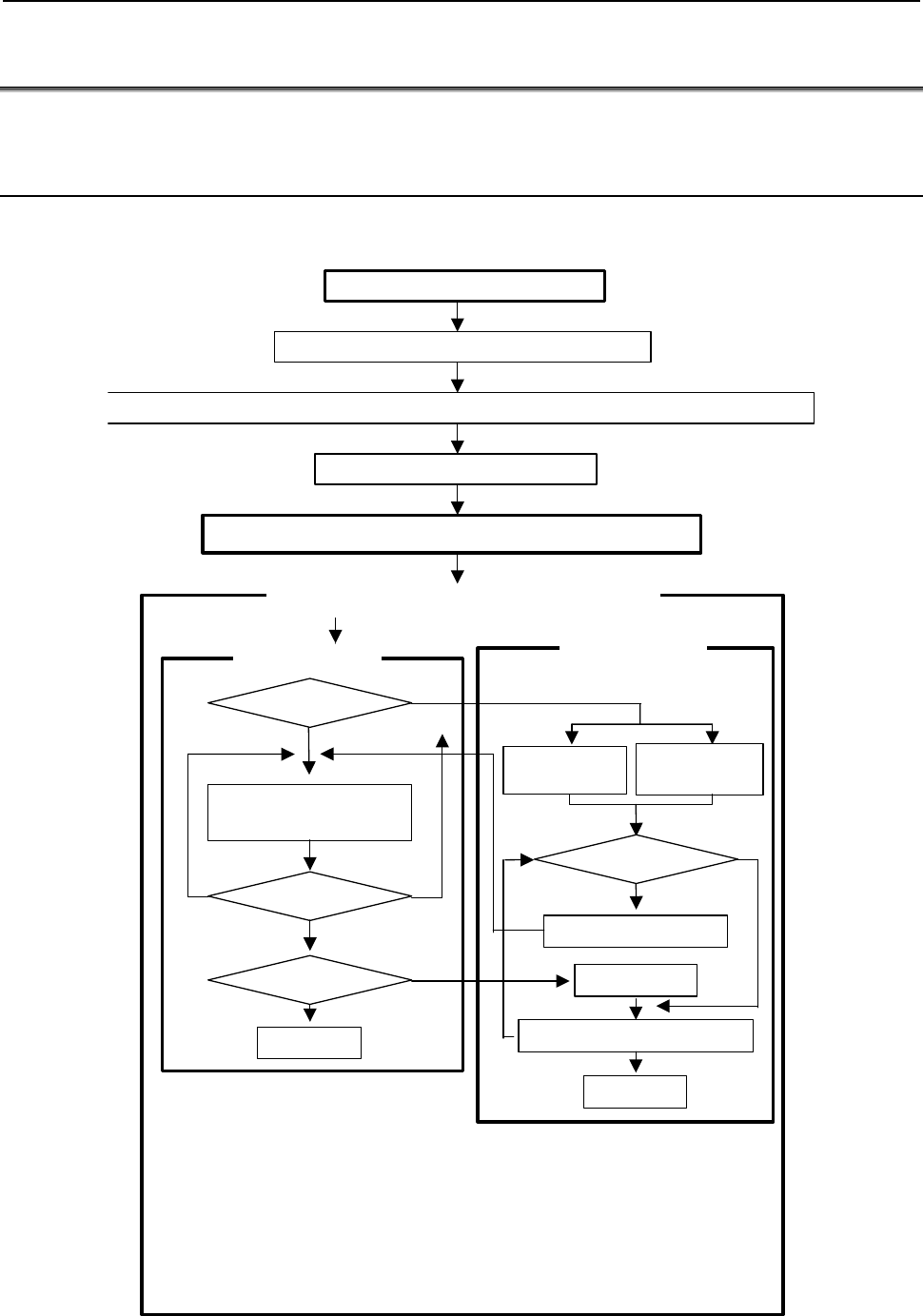
The following flowchart illustrates the procedure for creating a
sequence program.
Start control system development
Determine tar
ets of control
machine and CNC
S
ecif
control behavior
calculate the number of DI/DO
oints and determine scale of control
S
ecif
interfaces
assi
n DI/DO
Create sequence program (design, address mapping, coding)
In online function, programming and monitoring are carried out on a personal computer
connected to the PMC.
In offline function, programming is carried out on a personal computer not connected to the
PMC.
The other PMC programming systems (for use on OPEN CNC) include FANUC LADDER
(DOS) , FANUC LADDER-II (DOS) and FANUC LADDER-III (Windows).
Refer to the following manuals:
- FANUC LADDER (for Use on PC) Operator's Manual (B-66131E)
- FANUC LADDER-II Operator's Manual (B-66184EN)
- FANUC LADDER-III Operator's Manual (B-66234EN)
Enter, edit, debug, and print sequence program
On-line function
Off-line function
Edit ladder
diagram
- Monitor/Edit ladder diagram
- Monitor signals
Edit mnemonic
Compile (Link)
Decompile
Debug completed?
Print sequence program
Yes
No
No
Yes
New ?
Yes
No
No
Print ?
End
Debug ?
Yes
End